Antenna Ratchet Mount
Antenna Ratchet Mount
Grade: 316 Stainless Steel
Retail and bulk packaging available
The Antenna Ratchet Mount is precision cast and available in two sizes; 4-1/2″ and 6″. The antenna mount fits standard antennas and is made from grade 316 stainless steel for maximum corrosion resistance and durability.



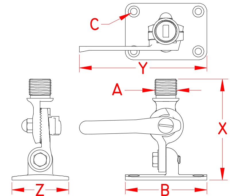
Specifications

ALL DIMENSIONS ARE NOMINAL (+/- 3%) AND ARE SUBJECT TO CHANGE WITHOUT NOTICE.
| ITEM | A (thread) | B | C | FASTENER | X | Y | Z | WT (lb) |
|---|---|---|---|---|---|---|---|---|
| S3620-0000 | 1″ – 14 | 3.62″ | 0.27″ | 1/4″ Screws | 4.48″ | 5.65″ | 2.54″ | 1.48 |
| S3621-0000 | 1″ – 14 | 3.75″ | 0.27″ | 1/4″ Screws | 6.00″ | 5.33″ | 2.26″ | 1.97 |






























