Center Rail, 60 Degree
Center Rail, 60 Degree
Grade: 316 Stainless Steel
Retail and bulk packaging available
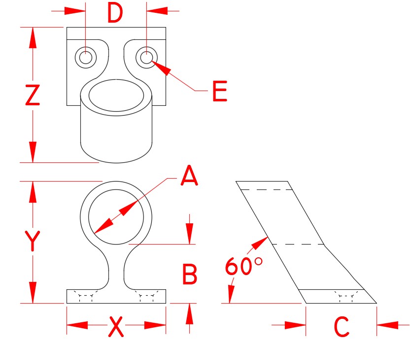
The Center Rail features a 60 degree angle and accepts 7/8″ or 1″ tubing. This rail fitting is made from grade 316 stainless steel for maximum corrosion resistance and durability. It is ideal for sailboat and powerboat railings.



Specifications

ALL DIMENSIONS ARE NOMINAL (+/- 3%) AND ARE SUBJECT TO CHANGE WITHOUT NOTICE.
| ITEM | A (size) | B | C | D | E | FASTENER | X | Y | Z | WT (lb) |
|---|---|---|---|---|---|---|---|---|---|---|
| S3672-0600 | 7/8″ | 0.95″ | 1.24″ | 1.03″ | 0.17″ | (2) #10 | 1.63″ | 2.00″ | 2.23″ | 0.24 |
| S3672-0601 | 1″ | 1.23″ | 1.29″ | 1.10″ | 0.18″ | (2) #10 | 1.65″ | 2.26″ | 2.50″ | 0.31 |















































