Pulley Block with Bracket

Pulley Block with Bracket

Grade: 304 Stainless Steel

Retail and bulk packaging available

The Pulley Block with Bracket features a plastic sheave with stainless steel bodies. It fits up to a 1/4″ rope and has a bracket. This pulley block is ideal for various marine and industrial rigging applications.

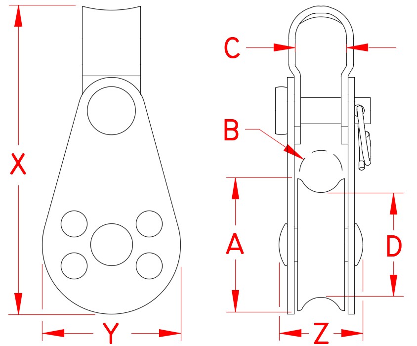
Specifications

Stainless Steel Pulley Block, S0405-BR25

ALL DIMENSIONS ARE NOMINAL (+/- 3%) AND ARE SUBJECT TO CHANGE WITHOUT NOTICE.

ITEMAB
(rope size)
CDXYZWLL
(lb)
WT
(lb)
S0405-BR250.91″up to 1/4″0.41″0.82″2.24″1.03″0.64″4000.07