Round Rail Base – 60 Degree
Round Rail Base – 60 Degree
Grade: 316 Stainless Steel
Retail and bulk packaging available
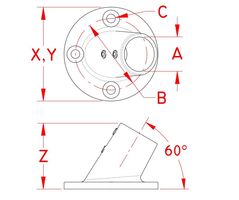
The Round Rail Base features a 60 degree angle and two set screws for quick and easy installation. This stanchion base is made from grade 316 stainless steel for maximum corrosion resistance and durability. These bases are ideal for sailboat and powerboat railings.



Specifications

ALL DIMENSIONS ARE NOMINAL (+/- 3%) AND ARE SUBJECT TO CHANGE WITHOUT NOTICE.
| ITEM | A (size) | B | C | FASTENER | X | Y | Z | WT (lb) |
|---|---|---|---|---|---|---|---|---|
| S3650-0600 | 7/8″ | 1.91″ | 0.19″ | #10 Screws | 2.65″ | 2.65″ | 1.92″ | 0.47 |
| S3650-0601 | 1″ | 2.13″ | 0.25″ | 1/4″ Screws | 2.80″ | 2.80″ | 1.96″ | 0.52 |















































