Snatch Block – Rope
Snatch Block – Rope
Grade: 316 Stainless Steel
Retail and bulk packaging available
The Snatch Block can fit rope sizes ranging from 1/2″ to 1″. The block is made from grade 316 stainless steel for maximum corrosion resistance and durability. It is ideal for marine and industrial rigging applications.

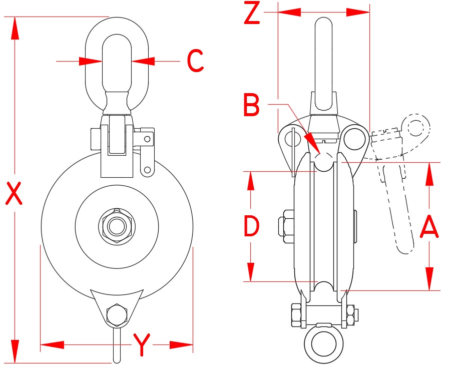
Specifications


ALL DIMENSIONS ARE NOMINAL (+/- 3%) AND ARE SUBJECT TO CHANGE WITHOUT NOTICE.
| ITEM | A | B (rope size) | C | D | X | Y | Z | WLL (lb) | WT (lb) | Sheave (part #) |
|---|---|---|---|---|---|---|---|---|---|---|
| S0428-0075-R | 3.25″ | 1/2″ | 0.78″ | 2.75″ | 9.00″ | 3.62″ | 2.58″ | 2,000 | 2.84 | S0411-1313 |
| S0428-0100-R | 4.25″ | 5/8″ | 0.95″ | 3.63″ | 11.00″ | 5.00″ | 2.98″ | 3,000 | 5.60 | S0411-1616 |
| S0428-0125-R | 5.25″ | 3/4″ | 1.06″ | 4.50″ | 13.25″ | 5.75″ | 3.43″ | 4,000 | 8.14 | S0411-2013 |
| S0428-0150-R | 6.25″ | 1″ | 1.15″ | 5.25″ | 15.00″ | 6.88″ | 4.17″ | 5,000 | 11.28 | S0411-2520 |

































